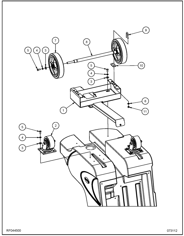
To purchase parts for the 300BU (Main Bottom Assembly RF044500):
- Reference the part needed from the parts diagram and refer to the parts list below.
- Copy the Part Number and paste it into the search window above to see availability and pricing.
- Confirm your parts selection and "Add To Cart".

| Item | Part Number | Description | Qty |
| 1A | MP424400 | BRACKET, AXLE, ASM. (20”) | 1 |
| 1B | MP440800 | BRACKET, AXLE, ASM. (24”) | 1 |
| 2 | MP432500 | CASTER, 4”, w/ BRAKE | 2 |
| 3 | NB9267 | WASHER, FLAT, 5/16” | 14 |
| 4 | NB6111 | WASHER, LOCK, 5/16” | 14 |
| 5 | NB9745 | BOLT, HEX, 5/16” X 3/4” | 14 |
| 6 | NB3350 | WASHER, FLAT, 1/4” | 4 |
| 7 | MP409900 | WHEEL, 8” X 2” | 2 |
| 8 | MP423500 | AXLE | 1 |
| 9 | NB061600 | BOLT, U, 1/4” | 2 |
| 10 | MP425301 | SPACER, AXLE | 2 |
| 11 | NB3275 | NUT, LOCK, 1/4” | 4 |