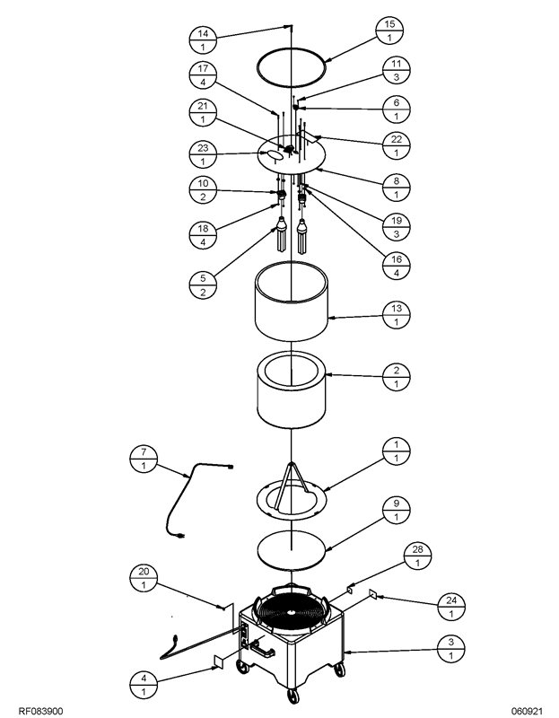
To purchase parts for the 250AP (Upper Assembly RF083900):
- Reference the part needed from the parts diagram and refer to the parts list below.
- Copy the Part Number and paste it into the search window above to see availability and pricing.
- Confirm your parts selection and "Add To Cart".

Item | Part Number | Description | Qty | Item | Part Number | Description | Qty | |
1 | MP545700 | WLDMT, BASE, 250AP | 1 | 15 | IN1015 | TRIM, BATTERY TRAY, 4.625 FT | 1 | |
2 | MP542200 | FILTER, HEPA, 18" O.D. | 1 | 16 | NB031500 | WASHER, 5/16", BONDED NEOPRENE | 4 | |
3A | MP54180 | FAN, 16.5", 2-SPD, 120V | 1 | 17 | NB073900 | SCREW, 8-32 X 1", RH, PHILLIPS | 4 | |
3B | MP547100 | FAN, 16.5", 2-SPD, 230V (250AP230) | 1 | 18 | NB9710 | NUT, KEPS, 8-32, ZINC | 4 | |
4 | MP498300 | DECAL, APEC, 3" | 1 | 19 | NB9530 | NUT, LOCK/WASHER, 6-32 | 3 | |
5A | MP542100 | BULB, UV-C, 36W, 120V | 2 | 20 | 98464A | 1/4 CABLE/TUBING CLAMP | 1 | |
5B | MP543400 | BULB, UV-C, 36W, 230V (250AP230) | 2 | 21 | MP545300 | HANG TAG, WARNING, 250AP | 1 | |
6 | MP234200 | INLET, POWER, AC, SCREW MOUNT | 1 | 22 | MP545400 | DECAL, WARNING, 250AP | 1 | |
7A | MP542900 | CORD, C13, 3 FT. | 1 | 23 | MP545100 | DECAL, 250AP | 1 | |
7B | MP547000 | CORD, C14 TO C13 RIGHT ANGLE, 3 FT (250AP230) | 1 | 24A | SN017100 | TAG, SERIAL, 250AP115, 250AP | 1 | |
8 | MP543600 | LID, AIR PURIFIER, 18" | 1 | 24B | SN017200 | TAG, SERIAL, 250AP115C, 250AP | 1 | |
9 | MP543500 | FILTER, UV LIGHT. 18" | 1 | 24C | SN017300 | TAG, SERIAL, 250AP230, 250AP | 1 | |
10 | MP543000 | HOLDER, LAMP, E27, PORCELAIN | 2 | 25 | MP543100 | WIRE, HARNESS, AIR PURIFIER, WHITE (NOT SHOWN) | 1 | |
11 | 85313C | SCREW 6-32 X 3/8 PAN HD | 3 | 26 | MP543200 | WIRE, HARNESS, AIR PURIFIER, BLACK (NOT SHOWN) | 1 | |
13 | MP542300 | PRE-FILTER, HEPA, 18" O.D. | 1 | 27 | MP543300 | WIRE, HARNESS, AIR PURIFIER, GROUND (NOT SHOWN) | 1 | |
14 | 85333A | 1/4-20 x 2 PAN PHIL M/S | 1 | 28 | MP545500 | DECAL, PROP 65, 250AP | 1 |